遊客:
註冊
|
登錄
|
統計
|
幫助
專業反雷達雷射測速器超級討論區
»
Laser Interceptor(雷射攔截者) 討論區(Taiwan)
» M20 雷射防護罩專利
‹‹ 上一主題
|
下一主題 ››
投票
交易
懸賞
活動
打印
|
推薦
|
訂閱
|
收藏
標題: M20 雷射防護罩專利
interceptor
超級版主
UID 18548
精華
2
積分 806
帖子 235
威望 339 1
金錢 0 1
貢獻 18 1
閱讀權限 101
註冊 2007-10-10
狀態 離線
#1
使用道具
發表於 2009-7-17 02:20
資料
個人空間
短消息
加為好友
M20 雷射防護罩專利
揭開m20的神秘面紗
www.s-star.com.tw)p"s,B#R2B;I8q#M$b3C
+V0g/a0a7F!c-\%~
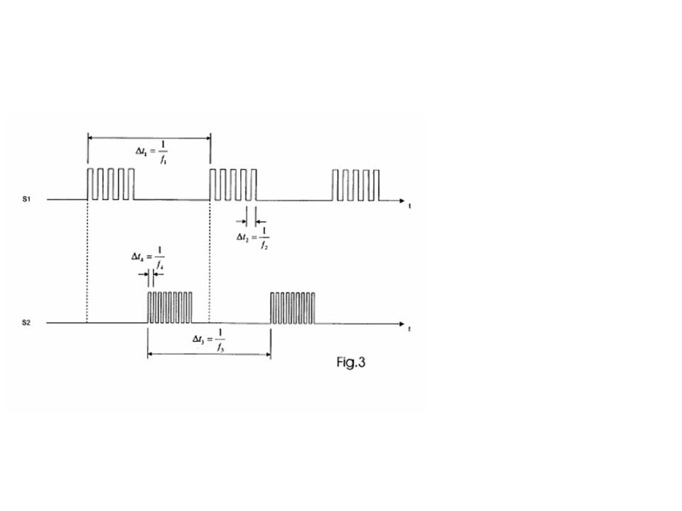
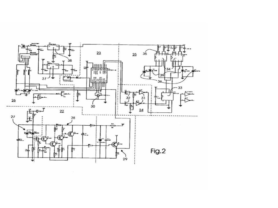
美國專利證號 6,833,910 系Blinder 公司工程師 Torben 於2002年申請,2004核准,為期20年的專利
行車紀錄器、測速器、電子偵測、雷射防護罩、GPS行車影像記錄器、GPS測速、汽車雷達、測速照相、南極星、征服者、至尊、V1、情聖一號、復國者、全頻雷達測速器、雷射測速:E$?'`6d;s1r/O%I:h
有興趣自己DIY 的朋友,或著有興趣自行開發山寨版的廠商,可自行參考。或許有朝一日可以成功創造出另一個台灣奇蹟。
專業反雷達雷射測速器超級討論區-o-_$M:E9G3V#`!E
以下擷取一些圖片給各位看一下,原來 LED 防護罩的設計圖長這個樣
行車紀錄器、測速器、電子偵測、雷射防護罩、GPS行車影像記錄器、GPS測速、汽車雷達、測速照相、南極星、征服者、至尊、V1、情聖一號、復國者、全頻雷達測速器、雷射測速$J q7~5?"H5m!|*b+r I
行車紀錄器、測速器、電子偵測、雷射防護罩、GPS行車影像記錄器、GPS測速、汽車雷達、測速照相、南極星、征服者、至尊、V1、情聖一號、復國者、全頻雷達測速器、雷射測速*n4Z)e:[:@"B)q:v8?$H
1P+v*k0W$[1j0j8w-r
,A']$b'V!B)\
專業反雷達雷射測速器超級討論區:a8r+_)V+P"K
&X"\"X*h(l.U0E!g%s專業反雷達雷射測速器超級討論區
www.s-star.com.tw+k(o$@7h.J(Y
專業反雷達雷射測速器超級討論區-A3A8Q![9d7W e8U"n
5X;Q6l9v'I Bwww.s-star.com.tw
[
本帖最後由 interceptor 於 2009-7-17 02:23 編輯
]
投影片1.JPG
(56.62 KB)
2009-7-17 02:21
投影片2.JPG
(38.46 KB)
2009-7-17 02:23
投影片3.JPG
(54.56 KB)
2009-7-17 02:23
投影片4.JPG
(22.09 KB)
2009-7-17 02:23
投影片5.JPG
(98.22 KB)
2009-7-17 02:23
小明
金牌會員
UID 184
精華 0
積分 6972
帖子 2507
威望 2859 1
金錢 0 1
貢獻 0 1
閱讀權限 10
註冊 2005-6-2
狀態 離線
#2
使用道具
發表於 2009-7-17 06:31
資料
個人空間
短消息
加為好友
如果不要用M20的程式碼反而搭配LI的程式碼, 或許可以開發成低價低成本的IR JAMMER, 打入較一般的市場中!
Valentine 1 Gen2 4.1023
S-STAR GPS 680
BLINDER 905C
LASER INTERCEPTOR V8.03
投票
交易
懸賞
活動
專業反雷達雷射測速器超級討論區
※【 南極星論壇站務區 】※
> 站務公告建議區
> 哈拉灌水區
> 給版主看的
> 特價商品區
※【 路況報導區 】※
> 路況最新消息報導區
> 固定式新增、刪除、誤報地點及未發報公告區
> 北部地區
> 中部地區
> 南部地區
> 宜花東地區
> 業餘無線電使用交流討論區
※【 測速產品使用心得區 】※
> Blinder HP905雷射盾官方討論區(Taiwan)
> 全國車友安裝BLINDER HP-905見證記錄
> 南極星系列GPS全球衛星定位超級雷達
> 南極星F-208.F-108.F107行車影像紀錄器
> 至尊系列GPS全球衛星定位超K全頻雷達
> valentineone情聖一號使用心得討論區
> Laser Interceptor(雷射攔截者) 討論區(Taiwan)
> 南極星HP-1/L9/908/907MINI/L-906全方位雷射防護罩
> 南極星HP-1/L-9/908/907/906全方位雷射盾安裝圖例
> 資深待退或已退役非主流產品區
> 南極星GX/R系列新K強化無線分離式全頻雷達
> 征服者GPS/PL/C系列全頻雷達
> 南極星S-5500限定版新K強化全頻機
> 全方位/精英超強K無線分離式全頻機
> 室內測速機種安裝方式說明
> 測試影片區
> GPS-9550影片測試區
> 全方位/精英超強K分離式測試影片區
> GPS-9500影片測試區
> GX-9200測試影片區
> GX-9000測試影片區
> S-5500測試影片區
> 征服者PL-940測試影片區
> 征服者ConQueror5測試影片區
> M-20雷射防護罩測試影片區
> CY-988雷射防護罩測試影片區
> 其他機型測試影片區
> 分離式機種安裝實例
> 南極星系列GPS分離式衛星超級雷達安裝圖例
> 至尊GPS-9550/7963/9968/7889安裝圖例
> 南極星GX-9200/9000系列安裝圖例
> S-5500安裝圖例
> 全方位/精英超強K分離式安裝圖例
> M-20安裝圖例
> CY-988安裝圖例
> 征服者系列機種安裝圖例
> 其他機型使用疑難雜症區
※【 雷達相關議題交流區 】※
> 測速系統相關議題討論區
> 相關交通法規討論區
> 新手充實知識專區
※【 會員專區 】※
> 會員好康推薦專區
當前時區 GMT+8, 現在時間是 2025-12-11 20:04
Powered by
Discuz!
5.5.0
© 2001-2007
Comsenz Inc.
Processed in 0.087635 second(s), 10 queries
清除 Cookies
-
聯繫我們
-
S-STAR反雷達雷射測速全球資訊網
-
Archiver
-
WAP